WASSER
GAS
AUTOMATISIERUNG
EDELSTAHL
SYSTEM- UND OEM-LÖSUNGEN
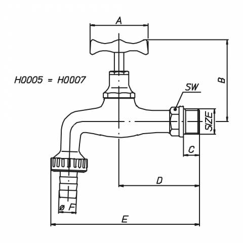
Kugelauslaufhahn AG Schlauchverschraubung, Knebelgriff, Messing matt verchromt.

| NENNWEITE | 3/8" | 1/2" | 3/4" | 1" |
| ARTIKELNUMMER | H0005C03 | H0005C04 | H0005C05 | H0005C06 |
| A mm | 48 | 48 | 57 | 57 |
| B mm | 68 | 68 | 80 | 84 |
| C mm | 12 | 12,5 | 13,5 | 15 |
| D mm | 68 | 68 | 75 | 86 |
| E mm | 118 | 123 | 137 | 161 |
| øF mm | 14,5 | 14,5 | 20 | 27 |
| SW mm | 19 | 21 | 25 | 32 |
| PN bar | 10 | 10 | 10 | 10 |
| Gewicht gr. | 278 | 316 | 495 | 676 |
| Articolo | Specifiche |
|---|---|
| H0005C03 | Kugelauslaufhahn AG Schlauchverschraubung, Knebelgriff, Messing matt verchromt. - 3/8" - ISO |
| H0005C04 | Kugelauslaufhahn AG Schlauchverschraubung, Knebelgriff, Messing matt verchromt. - 1/2" - ISO |
| H0005C05 | Kugelauslaufhahn AG Schlauchverschraubung, Knebelgriff, Messing matt verchromt. - 3/4" - ISO |
| H0005C06 | Kugelauslaufhahn AG Schlauchverschraubung, Knebelgriff, Messing matt verchromt. - 1" - ISO |
Druck/Temperatur-Diagramm (Prüfung mit Wasser ausgeführt) |
Druckverlust-Diagramm |
![]() |
|
| Durchfluss=m3/h | |